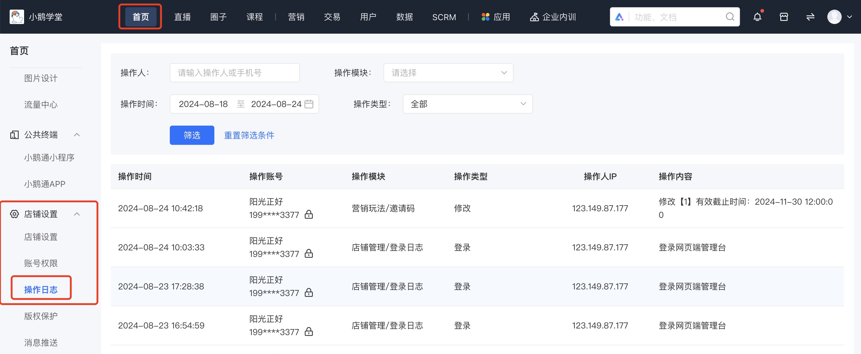
一、 功能介绍 为了帮助商家对店铺人员进行更好的管理和责任认定,【操作日志】模块全新上线,商家可随时查询店铺人员在管理台执行过的敏感操作。 **注:小鹅通管理台目前仅针对部分重要和敏感的操作进行记录,不会提供所有功能操作的记录;如您有新的需求,可通过服务管家上报期望记录的敏感操作,我们会定期对该功能进行更新维护。 二、 操作路径 小鹅通管理台 - 首页 - 店铺设置 - 操作日志 三、 使用教程 1、默认给出当前店铺最...
| 2024-08-24
一、功能介绍 日历打卡,是以“天”为单位的打卡模式。运营者创建一个打卡活动,学员需要每天在有效时段内提交打卡内容。 二、使用目的 提高学员活跃,通过持续的每日打卡养成一些比较好的行为习惯。 三、使用场景 日历打卡适用于每天都需要学员输出相应内容的场景,且只用输出一次即可,比如晨跑打卡、早睡打卡等。 四、操作路径 商家端:电脑端管理台→ 内容 → 打卡 → 日历打卡 → 新建日历打卡 学员端: 1、H5店铺/商家小程序...
一、 功能介绍 直播间创建后,可将直播以动态形式分享至多个圈子。 二、 使用目的 发布直播预告、直播前收集听众问题、沉淀直播回放、直播后答疑、领取直播资料等,丰富直播与社群的运营能力。 三、使用场景 直播前:发布直播预告、直播前收集听众问题等等; 直播后:沉淀直播回放、直播后答疑、领取直播资料等等; 四、操作路径 商家端:管理后台 → 店铺管理 → 直播管理 →分享直播 五、使用教程 第一步:选择要分享的直播 1.点...
| 2024-08-23
一、功能介绍 在运营设置中,设置直播间中圈子入口,方便学员看直播时加入圈子。 二、使用目的 为圈子获客引流。 三、 使用场景 在直播间设置圈子入口,方便学员加入圈子。 四、 操作路径 商家端:管理后台 → 店铺管理 → 直播管理 → 运营设置 → 圈子 五、 使用教程 第一步:进入直播运营设置; 1、点击【直播-直播管理】,找到需要设置的直播,点击【详情】进入直播间详情页,找到【运营设置】; 第二步:配置圈子引流 从右侧组...
一、 功能介绍 超低延时功能可以大幅降低直播延迟时间(最低可达1s内),满足商家对延迟性能要求更高的特定场景需求,例如在线教育、体育赛事直播、在线答题等,从而为观众提供更加极致的直播观看体验。 二、 使用场景 1. 在线教育:老师与学生实时问答互动,保障课堂教学效果,在线课堂也能像面对面一样自然。 2. 电商直播:用户与商家实时互动,提升购买转化率,用户不再错过促销秒杀机会。 3. 大型活动:大型会议、赛事活动信息...
| 2024-08-22
一、 功能介绍 在具体直播的直播间设置——评论设置中,开启【评论审核】功能后,商家可对直播间内的评论进行审核,确认评论符合商家要求后,商家可对具体评论进行"显示”操作,完成后该条评论即可对直播间内所有人可见。 二、 使用目的 商家可使用该功能对直播间评论进行更加强有效的管控 三、 使用场景 商家为了防止直播过程中出现不符合规定的评论(如涉政涉恐涉黄言论、广告信息、刷屏信息等),影响商家品牌及直播效果,此时...
一、功能介绍 【优惠券】是一款通过商家让利,从而让用户在直播间购买商品时享受优惠的营销工具。优惠券是促进用户成交的关键因素之一。 二、使用目的 商家给用户发放优惠券,通过优惠刺激用户购买,提升付费转化率。 三、使用场景 商家为了刺激新用户首次转化,为店铺内的商品设置了折扣券,并将优惠券在新用户社群里进行发放。 四、操作路径 商家端:电脑端管理台 → 直播间设置 → 添加优惠券 学员端:领券路径:直播间领...
| 2024-08-21
一、功能介绍 推送直播开课消息/通知,可以帮助商家在直播前给学员发送开课提醒。开启该功能,学员可以及时收到直播课程开课提醒,避免错过课程,从而提升商家直播课程触达率和关注度。 有两种消息提醒方式: 1.如果商家自己有服务号,可使用自有服务号推送开课提醒。 2.如果商家没有服务号,可使用小鹅通的代发服务号推送开课提醒。 提醒:只有服务号具有发送模板消息的功能时,才可以正常使用服务号通知功能;这里的服务号指的是...
扫码咨询